1
/
von
1
Albis Sicherheit GmbH
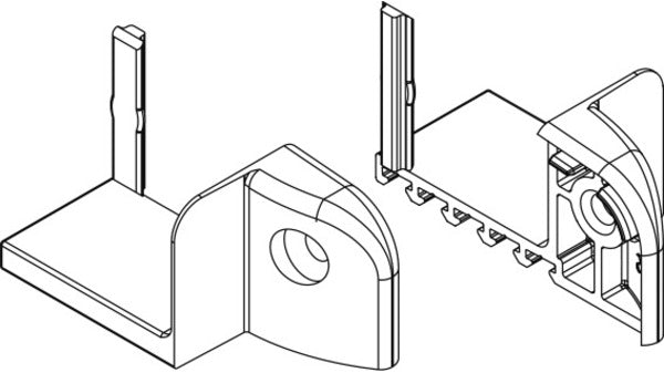
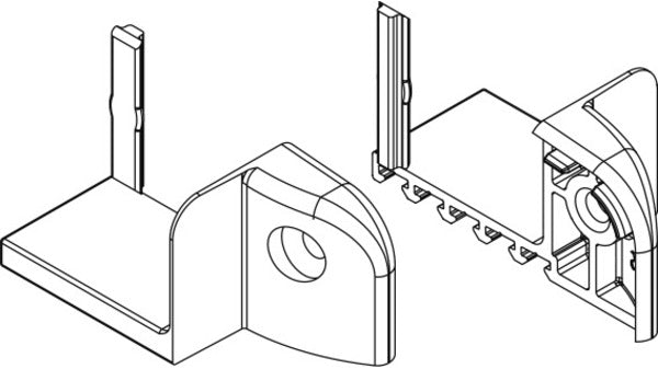
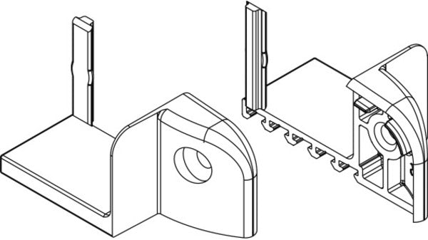
Endkappe Eifel Komfort MD, Kunststoff gr
Endkappe Eifel Komfort MD, Kunststoff gr
Normaler Preis
CHF 2.51
Normaler Preis
Verkaufspreis
CHF 2.51
Grundpreis
/
pro
Inkl. Steuern.
Versand wird beim Checkout berechnet
Verfügbarkeit für Abholungen konnte nicht geladen werden
Enkappe fixiert Dichtung im Design optisch abgestimmt
Share
