1
/
von
1
Albis Sicherheit GmbH
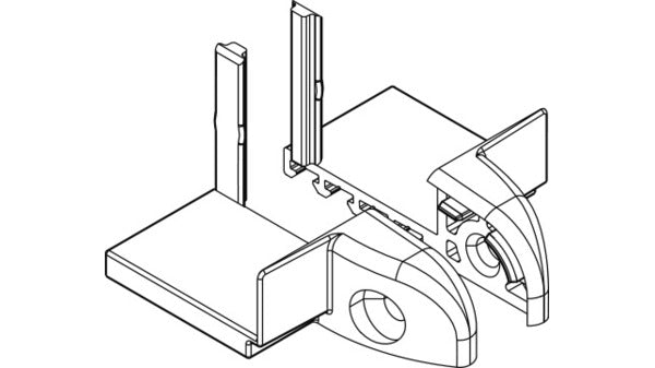
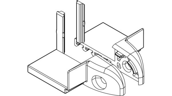
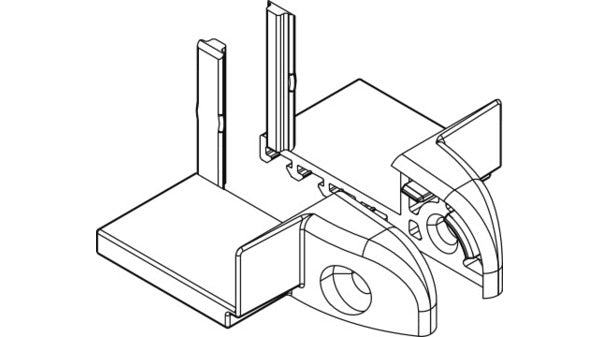
Endkappe Eifel Komfort AD, Kunststoff gr
Endkappe Eifel Komfort AD, Kunststoff gr
Normaler Preis
CHF 4.06
Normaler Preis
Verkaufspreis
CHF 4.06
Grundpreis
/
pro
Inkl. Steuern.
Versand wird beim Checkout berechnet
Verfügbarkeit für Abholungen konnte nicht geladen werden
Enkappe fixiert Dichtung im Design optisch abgestimmt
Share
